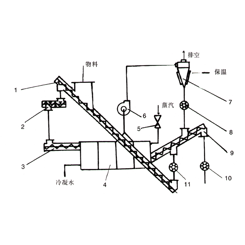
工艺流程
混料螺旋
2.
输送搅拌机
3.
供料螺旋
4.
干燥机
5.
调节阀
6.
风机
7.
除尘器
8.
关风机
9.
卸料螺旋
10.
关风机
11.
关风机
技术参数
相关产品
PZG系列耙式真空干燥
YPG系列压力式喷雾造粒干燥机组
卧式圆盘干燥机
闭流式载体快速干燥机
电池级磷酸铁干燥焙烧系统
预载体干燥机
XDT系列滚筒干燥机(切片机)
喷雾干燥
相关新闻
污泥干燥机的生产工艺流程
真空干燥机的维修探讨
桨叶干燥机的三种实际操作方式
氧化铁黑专用闪蒸干燥机
干燥设备需求将向食品行业扩张
喷雾干燥的工艺流程步驟
范群干燥赞助ABCA-4 第四届新型电池正负极材料技术国际论坛
真空干燥机维护要注意的事
桨叶干燥机:工业干燥的得力助手
喷雾干燥的改进
桨叶式干燥机的轴修复模式是什么?
常州范群干燥设备组团参加2015阿赫玛展会